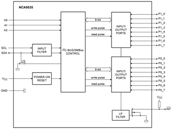
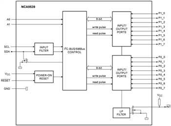
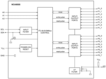
Nexperia NCA95xx I2C General-Purpose I/O (GPIO) Expanders provide an elegant solution when additional I/Os are needed while keeping the interconnections to a minimum. Housed in TSSOP24 and HWQFN24 packages, these GPIO expanders have multiple features like interrupts, hardware RESET, internal pull-up resistors, and configurable pull-ups. These Nexperia NCA95xx GPIO expanders feature benefits such as extremely low static power consumption and reduce the PCB design complexity through trace reduction and routing simplification, thereby reducing the BOM cost.














