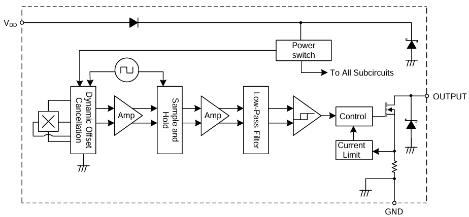
Diodes Incorporated AH332x High-Voltage Hall-Effect Unipolar Switches are designed for industrial and consumer applications. These applications include proximity, position, and level sensing in appliances and personal care devices. The Diodes Incorporated AH332x operates seamlessly within a supply range of 3.0V to 28V, ensuring compatibility with various demanding uses. The chopper-stabilized architecture and internal bandgap regulator offer a temperature-compensated supply for reliability across the entire operating range. Additionally, the device incorporates protective features like a reverse blocking diode with a Zener clamp on the supply, an overcurrent limit, and a Zener clamp on the output.











